Zvedací svěrka na profily IPVUZ - CROSBY
Zvedací svěrka na profily IPVUZ - CROSBY, byla vyvinuta speciálně pro malé profily.
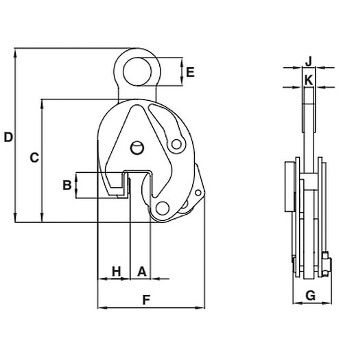
Zvedací svěrka na profily IPVUZ - CROSBY, je vyráběna s otočným závěsným okem.
Tělo svěrky je vyrobeno ze svařované legované pevnostní oceli, což umožňuje zachovat vysokou pevnost a menší rozměry. Úchopné části jsou kované z vysokopevnostní slitiny.
Každá svěrka je individuálně testována na 2-násobek limitu pracovního zatížení, s certifikátem, označena jedinečným seriovým číslem a datem provedení zkoušky zatížení na těle svěrky.
Název společnosti (CrosbyIP), logo, limit pracovního zatížení a rozevření čelisti, je trvale vyraženo na těle svěrky.
Zvedací svěrka na profily IPVUZ - CROSBY, splňuje podmínky norem EN 13155 a ASME B30.20.
Vyrobeno podle normy ISO 9001.
Všechny svěrky CROSBY, jsou "RFID EQUIPPED" - opatřeny identifikačním čipem RFID.

Tabulka specifikací

| Typ | Maximální zatížení | Čelisti A | B | C | D | E | F | G | H | K | Hmotnost |
| --- | t | mm | mm | mm | mm | mm | mm | mm | mm | mm | kg |
| IPVUZ | 0,75 | 0 - 15 | 26 | 130 | 216 | 40 | 115 | 42 | 30 | 11 | 1,8 |
| IPVUZ | 1,50 | 0 - 20 | 55 | 200 | 378 | 70 | 200 | 61 | 64 | 16 | 6,9 |





Crosby IP svěrky_Pavlínek sro
Svěrky CROSBY-katalog_Pavlínek sro
Zvedací svěrka na profily IPVUZ - CROSBY-katalogový list