Pavlínek s.r.o. - Profesionál přes zvedání, upínání a manipulaci s nákladem

Horizontální zvedací svěrka IPH10/JE - CROSBY

CROSBY  |  SKU: 71CR0018-0030
Nosnost, Kód výrobce
Svěrná šíře
13 327,00 Kč bez DPH
Dopravu Vám vypočítáme před odesláním objednávky v pokladně.

Horizontální zvedací svěrka IPH10/JE - CROSBY

Horizontální zvedací svěrka IPH10/JE - CROSBY, je vhodná na horizontální zdvihání a transport ocelových plechů, které se neprohýbají.
Tyto zdvihací svěrky mohou být použity i tak, že se zavěsí kolmo pod traverzu

Horizontální zvedací svěrka IPH10/JE - CROSBY, je bez bez pružiny a magnetů.

Tělo svěrky je vyrobeno ze svařované legované pevnostní oceli, což umožňuje zachovat vysokou pevnost a menší rozměry. Úchopné části jsou kované z vysokopevnostní slitiny.

Každá svěrka je individuálně testována na 2-násobek limitu pracovního zatížení, s certifikátem, označena jedinečným seriovým číslem a datem provedení zkoušky zatížení na těle svěrky.

Název společnosti (CrosbyIP), logo, limit pracovního zatížení a rozevření čelisti, je trvale vyraženo na těle svěrky.

Horizontální zvedací svěrka IPH10/JE - CROSBY, splňuje podmínky norem EN 13155 a ASME B30.20.

Vyrobeno podle normy ISO 9001.

Všechny svěrky CROSBY, jsou "RFID EQUIPPED" - opatřeny identifikačním čipem RFID.

Horizontální zvedací svěrka IPH10-JE - CROSBY

 

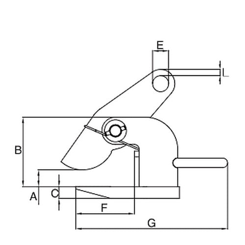
Tabulka specifikací

Horizontální zvedací svěrka IPH10/JE - CROSBYHorizontální zvedací svěrka IPH10/JE - CROSBY

Typ Maximální zatížení Hmotnost Čelisti A  B G H J K L
--- t kg mm mm mm mm mm mm mm mm mm mm
IPH10JE  3,0 18 60 - 120  177 20 26 109 266 120 20 48 11
IPH10JE  4,5 24 60 - 120  192 25 30 104 280 130 20 48 12
IPH10JE  6,0 30 60 - 120  203 25 36 123 320 130 20 48 14
IPH10JE  9,0 41 60 - 120  217 30 43 133 330 140 25 62 16
IPH10JE  12,0 48 60 - 120  232 30 47 141 353 150 25 62 17
Horizontální zvedací svěrka IPH10/JE - CROSBY
CROSBY

Horizontální zvedací svěrka IPH10/JE - CROSBY

Od 13 327,00 Kč bez DPH

Horizontální zvedací svěrka IPH10/JE - CROSBY

Horizontální zvedací svěrka IPH10/JE - CROSBY, je vhodná na horizontální zdvihání a transport ocelových plechů, které se neprohýbají.
Tyto zdvihací svěrky mohou být použity i tak, že se zavěsí kolmo pod traverzu

Horizontální zvedací svěrka IPH10/JE - CROSBY, je bez bez pružiny a magnetů.

Tělo svěrky je vyrobeno ze svařované legované pevnostní oceli, což umožňuje zachovat vysokou pevnost a menší rozměry. Úchopné části jsou kované z vysokopevnostní slitiny.

Každá svěrka je individuálně testována na 2-násobek limitu pracovního zatížení, s certifikátem, označena jedinečným seriovým číslem a datem provedení zkoušky zatížení na těle svěrky.

Název společnosti (CrosbyIP), logo, limit pracovního zatížení a rozevření čelisti, je trvale vyraženo na těle svěrky.

Horizontální zvedací svěrka IPH10/JE - CROSBY, splňuje podmínky norem EN 13155 a ASME B30.20.

Vyrobeno podle normy ISO 9001.

Všechny svěrky CROSBY, jsou "RFID EQUIPPED" - opatřeny identifikačním čipem RFID.

Horizontální zvedací svěrka IPH10-JE - CROSBY

 

Tabulka specifikací

Horizontální zvedací svěrka IPH10/JE - CROSBYHorizontální zvedací svěrka IPH10/JE - CROSBY

Typ Maximální zatížení Hmotnost Čelisti A  B G H J K L
--- t kg mm mm mm mm mm mm mm mm mm mm
IPH10JE  3,0 18 60 - 120  177 20 26 109 266 120 20 48 11
IPH10JE  4,5 24 60 - 120  192 25 30 104 280 130 20 48 12
IPH10JE  6,0 30 60 - 120  203 25 36 123 320 130 20 48 14
IPH10JE  9,0 41 60 - 120  217 30 43 133 330 140 25 62 16
IPH10JE  12,0 48 60 - 120  232 30 47 141 353 150 25 62 17

Nosnost, Kód výrobce

  • 3,0t, 2703553
  • 4,5t, 2703554
  • 6,0t, 2703555
  • 9,0t, 2703556
  • 12,0t, 2703557

Svěrná šíře

  • 60-120mm
Zobrazit produkt